BPP-02GKH-10-30防爆兩級跑偏開關飼料廠跑偏開關生產
由于產品型號眾多,我司各種電氣規格型號齊全,有任何需求可以與我公司銷售人員聯系,生產各種規格型號的跑偏開關、拉繩開關、傾斜開關、打滑開關、失速開關、溜槽堵塞開關、聲光報警器、限位開關、磁性開關、撕裂開關、料流開關等產品,產品適用范圍廣,用途多,產品銷售國內外100多個國家和地區,銷售電話:15163766288(微信同號)

BPP-02GKH-10-30防爆兩級跑偏開關產品介紹:
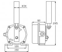
兩級跑偏開關主要應用在冶金 、電力 、煤巖 、礦山及化工等行業的輸送系統中 ,是輸送機自動化控制不可缺少的傳感元件,本產品可用于輸送機膠帶跑偏的檢測,使用與安裝:防偏開關可固定在輸送機縱梁頂部或底部,動作桿距皮帶邊緣約25mm。通常安裝在皮帶兩側距頭部或尾部0.3-2米的地方。當皮帶跑偏時,迫使動作桿偏離,觸動報警開關。兩級跑偏開關如果繼續偏離,觸動別一組開關,輸送機就會保護性停機。,防止由于膠帶跑偏而造成物料溢出等故障。本產品由于安裝方便、開關性能可靠,在輸送機膠帶中廣泛應用 。本產品內部采用儀器儀表防爆監督檢驗站(NEPSI)認可,GB12476.1-1990標準所規定的要求 。
■ BPP-02GKH-10-30防爆兩級跑偏開關動作說明
● 示意圖中的角度為側面滾輪的傾斜角度
● 接點1,2傾斜到20度時閉合,跑偏開關起帶式輸送現場的保護作用,因此必須達到指定的IP防護等級。 兩級跑偏開關分兩個位置檢測輸送機皮帶的跑偏程度和扭曲程度。根據皮帶的跑偏程度和扭曲程度,實現自動報警和停機,避免昂貴的輸送皮帶受損壞及因皮帶扭曲造成的物料散落等事故。此開關安裝方便,運行可靠,是帶式輸送機必備的保護裝置之一。,恢復到18度時斷開
● 接點4,5傾斜到35度時斷開,兩級跑偏開關適用范圍 兩級跑偏開關用于常規皮帶輸送機:地下、索道支撐皮帶輸送機:輪船裝卸系統;堆垛/取料輸送機;傾斜和梭式輸送機;起重機、挖掘機,起重臂限位:裙邊給料機/輸送機:重型極限開關檢測膠帶的跑偏量,是實現膠帶機控制的自動報警和停機的保護裝置。兩級跑偏開關廣泛用于冶金、煤炭、水泥建材、采礦、電力、港埠、冶金、化工等領域的各種帶式輸送設備。,恢復到33度時閉合
● 接點動作位置根據調整凸輪可變更
■工作原理
● 兩級跑偏開關是用于檢測帶式輸送機運行過程中輸送帶跑偏程度并進行以及自動觸發緊急停機的一種保護裝置。
● 使用跑偏開關可防止昂貴的輸送帶受損害以防止進一步的工礦事故和人生傷害。
● 兩級跑偏開關可防止在運行輸送系統里是不可缺少的保護裝置,其廣泛應用于鋼鐵廠、火力發電廠、水泥廠、化工廠、港口等等。
■ 應用范圍
● 常規皮帶輸送機,包括平皮帶輸送機和槽形皮帶輸送機
● 地下、索道支撐皮帶輸送機
● 輪船裝卸系統、堆取料輸送機
■ 產品特點
● 堅固的鑄鋁外殼、靜電防腐涂裝適應于惡劣工礦環境安裝
● 防護標準IP67在惡劣環境也可使用
● 使用高性能的微動開關和無需要維護的銅管技術,耐久性
● 動作桿軸承額定轉速 5000 轉/分,適用皮帶速度 6.35 米/秒
● 側面滾輪zui大傾斜角度75度,因此輸送帶發生異常偏離時保護開關也會準確動作
山東卓信電氣有限公司是一家主要從事生產接近開關、光電開關、Hall IC霍爾開關、霍爾元件、兩級跑偏開關、雙向拉繩開關、速度監測器、皮帶打滑開關、阻旋料位、皮帶縱向撕裂開關、礦用磁性井筒開關、傾斜開關,溜槽堵塞、聲光器、限位開關、行程開關、電梯開關、電梯稱重傳感器,防爆電磁閥線圈、齒輪傳感器、耐高溫無源反饋傳感器、冷熱金屬傳感器、速度旋轉監測傳感器,速度傳感器、接近傳感器、光電傳感器、無觸點磁性開關、防爆磁性接近開關、皮帶輸送裝置控制柜,等工控電器,集研發、試制;生產的高新技術性企業,符合節能、環保、低耗的國家產業政策,以小型化、智能化、多功能化、系統化的行業發展方向,并以的產品質量和完善的售后服務贏得了國內客戶的認同并與多家企業建立了長期, 兩級跑偏開關工作原理 兩級跑偏開關安裝在皮帶輸送機兩側、距離皮帶機首尾端部1~3m的地方。當皮帶跑偏時,皮帶邊緣壓向檔輪,迫使檔輪偏轉,使限位開關動作。為減少檔輪與皮帶的摩擦,檔輪的本體是由軸承制作的。 當發生輕微跑偏事故時(15°),兩級跑偏開關的第一組觸點動作,發出事故預告信號。 當發生嚴重跑偏事故時(30°),兩級跑偏開關的第二組觸點動作,可使輸送機自動停車。,合作關系。竭誠與國內外商家雙贏合作,共同發展,共創輝煌!
MT-500TK/316L不銹鋼雙向拉繩開關
MT-6080KH/316L不銹鋼跑偏開關
KJ30-A15K接近開關深海防水開關
WS-GY001 光電開關
控制磁鋼KY3-3型 HRCI-5
撕裂開關 - SL-I
跑偏開關 - GEJ30(A)
跑偏開關HLBHP-MC2JC2238
跑偏開關立輥TYPP-20-25
接近開關LJA30-2015K-MC24V200mA
限位開關WLCA2-7-NIP65
跑偏開關BPP-02GKH-10-30
TP-5P2
光器SAT8-2 ZSRQYL2M
打滑開關60-200-SCIP55
跑偏開關PLQ-RIP54
速度傳感器BH-3
防爆跑偏開關BKP12IP65
速度傳感器61164456可控啟動傳輸裝置CST420KS
速度開關F2-NB12RIP65
接近傳感器XS118BLFAL2 24-240VAC SN=5mm
MJKN-02 接近開關
接近開關LTC30-3410GK
雙向拉繩開關LK-IIAC:380V額定電壓:
HS-Q109拉線開關
接近開關(含磁性開關)]//電容式//圓柱型//常開/常閉//三線/NPN////LJC18A3-B-Z/BX 外徑18
[接近開關]//LJ38A 4-18-J/EZ// C110V
位置控制開關AHE-Y408LAX、
電感式接近開關 LM18-3008LA 備注:U:6-36V CI:200mA Sn:8mm 2線制
行程開關WLNJ
接近開關KJ200-LG 18MM直徑 220VAC耐高溫150度
![]() |